Стандарт распространяется на вискозиметры, предназначенные для определения условной вязкости жидких сред, дающих непрерывную струю в течение всего времени испытания по ГОСТ 6258-85, изготовляемые для нужд народного хозяйства и экспорта.
| Обозначение: | ГОСТ 1532-81* |
| Название рус.: | Вискозиметры для определения условной вязкости. Технические условия |
| Статус: | действующий |
| Заменяет собой: | ГОСТ 1532-54 |
| Дата актуализации текста: | 01.10.2008 |
| Дата добавления в базу: | 01.02.2009 |
| Дата введения в действие: | 01.01.1982 |
| Утвержден: | Госстандарт СССР (02.04.1981) |
| Опубликован: | Издательство стандартов № 1981<br>Издательство стандартов № 1990 |

ГОСУДАРСТВЕННЫЙ СТАНДАРТ СОЮЗА ССР
ВИСКОЗИМЕТРЫДЛЯ ОПРЕДЕЛЕНИЯ
УСЛОВНОЙ ВЯЗКОСТИ
ТЕХНИЧЕСКИЕУСЛОВИЯ
ГОСТ1532-81
ГОСУДАРСТВЕННЫЙКОМИТЕТ СССР ПО УПРАВЛЕНИЮ
КАЧЕСТВОМ ПРОДУКЦИИ И СТАНДАРТАМ
Москва
ГОСУДАРСТВЕННЫЙ СТАНДАРТ СОЮЗА ССР
| ВИСКОЗИМЕТРЫ ДЛЯ ОПРЕДЕЛЕНИЯ Технические условия Viscosimeters of relative viscosity. | ГОСТ Взамен |
Постановлением Государственного комитета СССР по стандартам от 2 апреля1981 г. № 1764 срок введения установлен
с 01.01.82
для вискозиметров типа ВУ1 –
с 01.01.83
Проверен в 1986 г. Постановлением Госстандарта СССР от 26.09.86 №2916 срок действия продлен
до01.01.92
Настоящий стандарт распространяется на вискозиметры, предназначенныедля определения условной вязкости жидких сред (далее - жидкостей), дающихнепрерывную струю в течение всего времени испытания по ГОСТ 6258-85,изготовляемые для нужд народного хозяйства и экспорта.
1.1. Типы, основные параметры и размерывискозиметров должны соответствовать указанным на черт. 1 - 6 и в таблице.
| Тип вискозиметра | Код ОКП | Исполнение | Регулирование температуры | Напряжение, В | Частота, Гц |
| питающей сети | |||||
| ВУ | 42 1572 0034 02 | Обыкновенное | Ручное |
| 50; 60 |
| 42 1572 0046 09 | Экспортное | ||||
| ВУ1 | 42 1572 0035 01 | Обыкновенное | Автоматическое (за счет применения термостата) | - | |
| 42 1572 0017 08 | Экспортное | ||||
Пример условногообозначениявискозиметра типа ВУ:
ВУ ГОСТ 1532-81
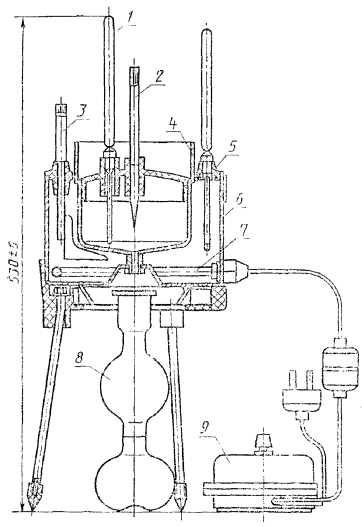
Вискозиметр типа ВУ
1 -термометры; 2 - стержень; 3 - мешалка; 4 - резервуар; 5- крышка; 6 - ванна; 7 - нагреватель; 8 - измерительнаяколба; 9 - регулятор мощности
Черт. 1
Вискозиметр типа ВУ1

1 - термометр;2 - стержень; 3 - ванна; 4 - резервуар; 5 -измерительная колба; 6 - патрубки
Черт. 2
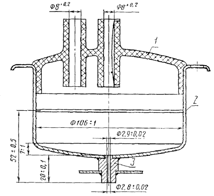
Резервуар вискозиметра типаВУ

1 - резервуар;2 - крышка; 3 - сточная трубка; 4 - гайка
Черт. 3
Резервуар вискозиметра типаВУ1

1 - крышка; 2- резервуар; 3 - сточная трубка
Черт. 4
Измерительная колба
Черт. 5
Стержень
Черт. 6
(Измененная редакция, Изм. №2).
1.2. По устойчивости квоздействию температуры и влажности воздуха в условиях эксплуатациивискозиметры должны соответствовать исполнению УХЛ категории размещения 4.2 илиисполнению Т категории размещения 4.1 по ГОСТ15150-69.
1.3. По устойчивости кмеханическим воздействиям вискозиметры должны соответствовать группе исполненияL3 по ГОСТ12997-84.
(Измененная редакция, Изм. №2).
Внешний вид вискозиметров,предназначенных для экспорта, должен соответствовать специальному образцу,утвержденному в установленном порядке.
2.2.Вискозиметры должны работать при следующих условиях эксплуатации:
температура окружающеговоздуха 10 - 35 °С;
относительная влажностьвоздуха до 80 %;
отсутствие вибрационныхвоздействий.
2.4. Требования к конструкции
2.4.1.Металлические части вискозиметров должны быть защищены противокоррозионнымпокрытием по ГОСТ 9.306-85 , которое должно быть сплошным и не терять стойкости в процессеэксплуатации.
Параметр шероховатостивнутренней поверхности резервуара должен быть Ra 0,40 - 0,63 мкм; параметршероховатости сточной трубки - Ra 0,20 - 0,32 мкм по ГОСТ2789-73.
(Измененная редакция, Изм. №1).
2.4.2.Сточная трубка должна быть изготовлена из нержавеющей стали группы 1 по ГОСТ 5632-72 .
2.4.3.Отклонение от перпендикулярности среза сточной трубки к ее оси должно быть неболее 0,1 мм.
2.4.4. Дно резервуара должноиметь форму шарового сегмента.
На внутренней поверхностистенки резервуара должна быть нанесена риска или должен быть предусмотрендругой указатель уровня жидкости и горизонтальности установки вискозиметра.
2.4.5.Материал крышки резервуара - фенопласт жаростойкого типа, марки Ж1-010-40 по ГОСТ 5689-79.
Крышка должна входить врезервуар с зазором не более 0,5 мм по диаметру и плотно соприкасаться снаружной поверхностью резервуара. Отверстие на крышке, служащее направляющейдля стержня, должно быть снабжено приспособлением, удерживающим стержень вприподнятом положении.
2.4.6.Стержень должен состоять из конической части, изготовленной из алюминия маркиАД1 по ГОСТ 4784-74 и цилиндрической части, изготовленной из фенопласта марки Ж1-010-40 поГОСТ 5689-79.
2.4.7. Местасоединений патрубков и сточной трубки с резервуаром и ванной должны бытьгерметичными.
2.4.10. Масса вискозиметраВУ должна быть не более 2,6 кг; вискозиметра ВУ1 - 1,1 кг.
2.4.11. Мощностьвискозиметра ВУ не должна быть более 300 В×А.
2.4.10, 2.4.11. (Введеныдополнительно, Изм. № 1).
2.5. Требования кэлектрической изоляции
2.6.1.Средняя наработка на отказ вискозиметров должна быть не менее 20000 ч.
Критерием отказа следует считатьнесоответствие вискозиметров требованиям п. 2.3.
Установленная безотказнаянаработка вискозиметров должна быть не менее 6000 ч.
2.6.2. Полный средний срокслужбы вискозиметров должен быть не менее 10 лет.
Полный установленный срокслужбы вискозиметров должен быть не менее 8 лет.
2.6.1, 2.6.2. (Измененнаяредакция, Изм. № 1).
2.7.Требования к вискозиметрам в упаковке для транспортирования - по ГОСТ 12997-84.
2.8.Требования безопасности - по ГОСТ 8.290-78.
2.9. Технические требованияк измерительным колбам должны соответствовать техническим требованиям,предъявляемым к мерным колбам 2-го класса по ГОСТ1770-74.
(Введен дополнительно, Изм.№ 2).
3.1. В комплектвискозиметров должны входить:
термометры типов ТН3-1 иТН3-2 по ГОСТ400-80;
стержень - 3 шт.;
колба - 2 шт.
К комплекту прилагаютэксплуатационную документацию по ГОСТ 2.601-68.
(Измененная редакция, Изм. №1).
4.1. Для проверкивискозиметров на соответствие требованиям настоящего стандартапредприятие-изготовитель должно проводить государственные контрольные,приемо-сдаточные, периодические испытания и контрольные испытания набезотказность.
4.2. Порядок проведениягосударственных контрольных испытаний - по ГОСТ8.001-80.
4.3. Приемо-сдаточнымиспытаниям следует подвергать каждый вискозиметр на соответствие требованиямпп. 2.1- 2.5;2.7и 2.8.
4.4. Периодическим испытаниям,проводимым не реже раза в год, следует подвергать не менее трех вискозиметровна соответствие всем требованиям настоящего стандарта, кроме п. 2.6.
При несоответствиивискозиметров хотя бы одному из требований настоящего стандарта проводятповторные испытания удвоенного числа вискозиметров. Результаты повторныхиспытаний являются окончательными.
4.5. Контрольные испытания на безотказность
4.5.1. Контрольные испытанияна безотказность (п. 2.6.1) проводят раз в три года по отраслевойнормативно-технической документации, утвержденной в установленном порядке и п. 5.7, еслиобъем годового выпуска превышает 200 вискозиметров. Допускается оцениватьпоказатели безотказности по результатам обработки эксплуатационной информации.
4.5.2. Контрольные испытанияна безотказность планируют с учетом следующих данных: приемочный уровень Ра= 0,9; браковочный уровень Рb = 0,7; риск изготовителя а= 0,1; риск потребителя b = 0,2.
Контрольные испытания набезотказность проводят одноступенчатым методом с ограниченнойпродолжительностью испытаний при объеме выборки n = 19, приемочном числе отказовС = 3 и продолжительности испытаний каждого образца t = 2000 ч.
Допускается увеличивать илиуменьшать объем выборки и продолжительность испытаний.
4.5.3. Если за времяиспытаний число отказов превышает три, то разрешается продолжить испытания сувеличенным числом вискозиметров до объема, предусматривающего приемку принаблюдаемом числе отказов, либо увеличить продолжительность испытанийпропорционально требуемому новому объему выборки.
4.5.4. Вискозиметры,предъявляемые к испытанию на безотказность, должны пройти приемо-сдаточныеиспытания. Допускается проводить испытания на безотказность на вискозиметрах,прошедших периодические испытания.
4.5.5. В паспорте на образцывискозиметров, прошедшие контрольные испытания на безотказность, следуетуказывать время наработки при испытаниях.
4.6. Правила приемкиизмерительных колб должны соответствовать правилам приемки, предъявляемым кмерным колбам 2-го класса по ГОСТ1770-74.
(Введен дополнительно, Изм.№ 2).
5.1. Размеры вискозиметров(пп. 1.1;2.1;2.4.3- 2.4.5),качество покрытия (пп. 2.4.1 и 2.4.2) следует проверятьизмерительным инструментом, обеспечивающим требуемую точность, и внешнимосмотром. Материалы, из которых изготовляют вискозиметры (пп. 2.4.5 и2.4.6),проверяют в процессе производства.
5.2. Постояннуювискозиметров (п. 2.3) следует проверять по ГОСТ8.290-78.
5.3. Для проверкигерметичности соединения сточной трубки с резервуаром (п. 2.4.7)в верхнее отверстие сточной трубки вставляют стержень, избегая разбрызгивания,наливают воду в резервуар и выдерживают в течение 10 мин.
Вискозиметры считаютвыдержавшими испытания, если после выдержки на внешней поверхности соединенияне появились следы влаги. Вискозиметры типа ВУ дополнительно проверяют по пп. 2.5.1 и2.5.2.
5.4.Проверку на соответствие требованиям п. 2.4.8 проверяют впоследовательности, приведенной ниже:
ванну вискозиметра заполняютнефтяным маслом с температурой вспышки в открытом тигле не менее 180 °С;
ручку регулятора мощностиустанавливают в положение, обеспечивающее нагрев нефтепродукта в резервуаре до110 °С. Через 1 ч измеряют температуру нефтепродукта.
Нагреватель вискозиметрасчитают выдержавшим испытание, если температура нефтепродукта в резервуаре поистечении 1 ч составит не менее 110 °С.
5.5. Проверку конструкциивискозиметра типа ВУ1 (п. 2.4.9) проводят подсоединением к нему термостатас помощью патрубков в соответствии с п. 5.4.
5.6. Электрическую прочностьи сопротивление изоляции между корпусом ванны и контактами вилки вискозиметровтипа ВУ (пп. 2.5.1и 2.5.2)следует проверять в соответствии с требованиями ГОСТ 21657-83.
5.7.Испытания вискозиметров на безотказность (п. 2.6) следует проверять приусловиях, указанных в п. 2.2, в последовательности, приведенной ниже:
ванну и резервуарвискозиметров заполняют водой, регулятор мощности подключают к сети переменноготока;
ручку регулятора мощностиустанавливают в положение, обеспечивающее нагрев воды в резервуаре 75 - 80 °С.
Испытания проводят в режименепрерывного включения регулятора мощности через каждые 8 ч. Допускаетсяпроводить испытания непрерывно в течение суток. В процессе испытаний долженбыть обеспечен заданный уровень воды в резервуаре. Периодически, не реже раза в 200 ч,следует проверять параметр, по которому определяют отказ вискозиметров.
5.8. Устойчивостьвискозиметров в упаковке к воздействию транспортной тряски, повышеннойвлажности и температуры (п. 2.7) следует проверять по ГОСТ 12997-84.
После проведения испытаний вискозиметрыпроверяют на соответствие требованиям пп. 2.3 и 2.4.7.
5.9. Методы испытанийизмерительных колб должны соответствовать методам испытаний, предъявляемым кмерным колбам 2-го класса по ГОСТ1770-74.
(Введен дополнительно, Изм.№ 2).
6.1. На ванне и корпусерегулятора мощности вискозиметров типа ВУ должна быть прикреплена табличка по ГОСТ12971-67 с указанием:
товарного знака или наименованияпредприятия-изготовителя;
условного обозначениявискозиметра;
порядкового номеравискозиметра по системе нумерации предприятия-изготовителя;
года (последние две цифры) иквартала изготовления;
изображения государственногоЗнака качества (если он присвоен);
знака Государственногореестра (если государственный Знак качества присвоен).
На измерительной колбедолжны быть четко нанесены:
номинальная вместимость в см3;
«20 °С»;
буква Н (налив);
надпись: «к вискозиметруВУ».
Расположение обозначений должносоответствовать черт. 5.
Маркировка вискозиметров вэкспортном исполнении должна соответствовать требованиям нормативно-техническойдокументации и заказу-наряду внешнеторговой организации.
(Измененная редакция, Изм. №2).
6.2. Вискозиметрыупаковывают с прокладкой из амортизирующего материала в ящики по ГОСТ2991-85, ГОСТ5959-80 и ГОСТ24634-81.
6.3. Маркировка транспортнойтары - по ГОСТ 14192-77 инормативно-технической документации. На ящике должны быть нанесеныманипуляционные знаки, соответствующие надписям: «Верх, не кантовать», «Осторожно,хрупкое» и надпись «Не бросать!».
Ящики и прокладочныйматериал для вискозиметров, предназначенных для экспорта в страны с тропическимклиматом, должны быть подвергнуты защитной обработке по ГОСТ15155-89.
(Измененная редакция, Изм. №2).
6.4. Вискозиметры передупаковыванием в ящик должны быть подвергнуты консервации по ГОСТ9.014-78. Вариант защиты - ВЗ-1, вариант упаковки - ВУ-1.
6.5. Пакетирование - по ГОСТ21929-76.
6.6. Вискозиметрытранспортируют всеми видами закрытого транспорта.
При транспортированиивискозиметров в районы Крайнего Севера их упаковка должна соответствоватьтребованиям ГОСТ15846-79.
6.7. Условие хранениявискозиметров в упаковке - 1 по ГОСТ15150-69. Не допускается хранить вискозиметры с веществами, вызывающимикоррозию.
6.5-6.7. (Измененнаяредакция, Изм. № 1).
6.8. Товаросопроводительнаяи эксплуатационная документации на вискозиметры, предназначенные для экспорта,должны соответствовать требованиям заказа-наряда внешнеторговой организации.
7.1. Изготовительгарантирует соответствие вискозиметров требованиям настоящего стандарта присоблюдении условий эксплуатации, транспортирования и хранения.
7.2. Гарантийный срокэксплуатации вискозиметров - 18 мес. со дня их ввода в эксплуатацию.
Для вискозиметров,предназначенных для экспорта, гарантийный срок эксплуатации - 12 мес. со дня ихввода в эксплуатацию, но не более 24 мес. с момента их проследования черезГосударственную границу СССР.
СОДЕРЖАНИЕ