Настоящий стандарт распространяется на установочные винты с номинальным диаметром резьбы от 6 до 20 мм.
| Обозначение: | ГОСТ 1482-84* |
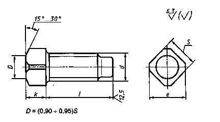
| Название рус.: | Винты установочные с квадратной головкой и цилиндрическим концом классов точности А и В. Конструкция и размеры |
| Статус: | действующий |
| Заменяет собой: | ГОСТ 1482-75 |
| Дата актуализации текста: | 01.10.2008 |
| Дата добавления в базу: | 01.02.2009 |
| Дата введения в действие: | 01.01.1986 |
| Разработан: | Министерство станкостроительной и инструментальной промышленности СССР |
| Утвержден: | Госстандарт СССР (08.05.1984) |
| Опубликован: | Стандартинформ № 2006 |
| МЕЖГОСУДАРСТВЕННЫЙ СТАНДАРТ | |
| ВИНТЫ УСТАНОВОЧНЫЕ С КВАДРАТНОЙ ГОЛОВКОЙ И ЦИЛИНДРИЧЕСКИМ КОНЦОМ КЛАССОВ ТОЧНОСТИ А И В Конструкция и размеры Square-head dog-point set screws. | ГОСТ |
Дата введения 01.01.86
1. Настоящий стандартраспространяется на установочные винты с номинальным диаметром резьбы от 6 до
2. Конструкция и размерывинтов должны соответствовать указанным на чертеже и в таблице.

мм
| Номинальный диаметр резьбы d | 6 | 8 | 10 | 12 | 16 | 20 | |
| Размер под ключ S | 7 | 8 | 10 | 12 | 17 | 22 | |
| Высота головки k | 6 | 7 | 8 | 10 | 14 | 18 | |
| Диаметр описанной окружности е | 9 | 10 | 13 | 16 | 22 | 28 | |
| Длина винта l | 12 |
| - | - | - | - | - |
| 14 |
|
| - | - | - | - | |
| 16 |
|
|
| - | - | - | |
| 20 |
|
|
|
| - | - | |
| 25 |
|
|
|
|
| - | |
| 30 |
|
| Стандартные длины |
| - | ||
| 35 |
|
|
|
| |||
| 40 | - |
|
|
|
|
| |
| 45 | - | - |
|
|
|
| |
| 50 | - | - |
|
|
|
| |
| 55 | - | - | - |
|
|
| |
| 60 | - | - | - |
|
|
| |
| 65 | - | - | - | - |
|
| |
| 70 | - | - | - | - |
|
| |
| 75 | - | - | - | - |
|
| |
| 80 | - | - | - | - |
|
| |
| 90 | - | - | - | - | - |
| |
| 100 | - | - | - | - | - |
| |
Пример условного обозначениявинта класса точности Д диаметром резьбы мм, с полем допуска 6g, длиной l =
Винт B.M10-6g×25.14НГОСТ 1482-84
То же, класса точности А, классапрочности 45Н, из стали 40Х с химическим окисным покрытий пропитанным маслом:
Винт A.M10-6g×.25.45H.40X.05 ГОСТ 1482-84
Тоже, из латуни ЛС 59-1, без покрытия:
Винт A.M10-6g× 25.32 ГОСТ 1482-84
1.2. (Измененная редакция, Изм. № 1).
3. Резьба - по ГОСТ 24705, шаг резьбы - крупный. Недорез резьбы - нормальный по ГОСТ 10549 .
4. Радиус под головкой - по ГОСТ 24670 .
5. Конец винта -цилиндрический по ГОСТ 12414 .
6. Допуски и методыконтроля размеров, отклонений формы и расположения поверхностей - по ГОСТ 1759.1 .
7. Дефекты поверхности иметоды контроля - по ГОСТ 1759.2 .
8. Механические свойства иметоды испытаний винтов: из углеродистой и легированной стали - по ГОСТ 25556 , из коррозионно-стойкой, жаропрочной, теплоустойчивойстали и из цветных сплавов - по ГОСТ 1759.1 , ГОСТ 1759.2 , ГОСТ 1759.4 .
(Измененная редакция, Изм. № 1).
9. Винты должны изготовляться спокрытиями: цинковым хроматированным, кадмиевым хроматированным, никелевым,окисным, пропитанным маслом, фосфатным, пропитанным маслом, или без покрытия.
10. Остальные техническиетребования - по ГОСТ 1759.0 .
(Измененная редакция, Изм. № 1).
11. Теоретическая масса винтов указана вприложении.
ПРИЛОЖЕНИЕ
Справочное
Теоретическая масса 1000 шт. стальных винтов, кг
| Длина винта ,l мм | Номинальный диаметр резьбы d, мм | |||||
| 6 | 8 | 10 | 12 | 16 | 20 | |
| 12 | 4,17 | - | - | - | - | - |
| 14 | 4,60 | 7,60 | - | - | - | - |
| 16 | 4,78 | 8,27 | 13,53 | _ | - | - |
| 20 | 5,68 | 9,50 | 15,29 | 24,46 | - | - |
| 25 | 6,56 | 11,10 | 18,10 | 28,11 | 62,21 | - |
| 30 | 7,44 | 12,70 | 20,62 | 31,74 | 68,88 | - |
| 35 | 8,33 | 14,30 | 23,13 | 35,06 | 75,55 | 140,24 |
| 40 | - | 15,87 | 25,64 | 39,01 | 82,23 | 150,04 |
| 45 | - | - | 28,15 | 42,67 | 88,90 | 160,44 |
| 50 | - | - | 30,66 | 46,28 | 95,57 | 170,84 |
| 55 | - | - | - | 49,91 | 102,24 | 181,34 |
| 60 | - | - | - | 53,54 | 110,84 | 191,74 |
| 65 | - | - | - | - | 115,54 | 202,14 |
| 70 | - | - | - | - | 122,24 | 212,54 |
| 75 | - | - | - | - | 128,94 | 229,24 |
| 80 | - | - | - | - | 135,54 | 242,44 |
| 90 | - | - | _ | - | - | 254,34 |
| 100 | - | - | - | - | - | 275,24 |
Примечание. Для определения массы винтов,изготовленных из других материалов, значения массы, указанные в таблице, должныбыть умножены на коэффициент: 0,97 - для бронзы, 1,08 - для латуни, 0,356 - дляалюминиевого сплава.
ПРИЛОЖЕНИЕ. (Измененная редакция, Изм.№ 1).
ИНФОРМАЦИОННЫЕ ДАННЫЕ
1. РАЗРАБОТАН И ВНЕСЕН Министерствомстанкостроительной и инструментальной промышленности СССР
РАЗРАБОТЧИКИ
В.Г. Серегин, А.М. Свиридов, Н.И. Антонова, Н.И.Денисова
2. УТВЕРЖДЕН И ВВЕДЕН ВДЕЙСТВИЕ Постановлением Государственного комитета СССР по стандартам от08.05.84 № 1589
3.ВЗАМЕН ГОСТ 1482-75
4. ССЫЛОЧНЫЕНОРМАТИВНО-ТЕХНИЧЕСКИЕ ДОКУМЕНТЫ
| Обозначение НТД, на который дана ссылка | Номер пункта |
| ГОСТ 1759.0-87 | |
| ГОСТ 1759.1-82 | |
| ГОСТ 1759.2-82 | |
| ГОСТ 1759.4-87 | |
| ГОСТ 10549-80 | |
| ГОСТ 12414-94 | |
| ГОСТ 24670-81 | |
| ГОСТ 24705-2004 | |
| ГОСТ 25556-82 |
5. ИЗДАНИЕ с Изменением №1, утвержденным в июле