Стандарт распространяется на шурупы класса точности В с потайной, полупотайной, полукруглой и шестигранной головками.
| Обозначение: | ГОСТ 1147-80* |
| Название рус.: | Шурупы. Общие технические условия |
| Статус: | действующий |
| Заменяет собой: | ГОСТ 1147-70 |
| Дата актуализации текста: | 01.10.2008 |
| Дата добавления в базу: | 01.02.2009 |
| Дата введения в действие: | 01.01.1982 |
| Разработан: | Министерство черной металлургии СССР |
| Утвержден: | Госстандарт СССР (30.06.1980) |
| Опубликован: | Издательство стандартов № 1980<br>ИПК Издательство стандартов № 1998 |

ГОСУДАРСТВЕННЫЙСТАНДАРТ СОЮЗА ССР
ШУРУПЫ
ОБЩИЕ ТЕХНИЧЕСКИЕУСЛОВИЯ
ГОСТ 1147-80
(СТ СЭВ 2331-89)
ИПК ИЗДАТЕЛЬСТВО СТАНДАРТОВ
Москва
ГОСУДАРСТВЕННЫЙ СТАНДАРТСОЮЗА ССР
| ШУРУПЫ Общие технические условия Wood screws. General specifications | ГОСТ (СТ СЭВ 2331-89) |
Датавведения 1982-01-01
Настоящий стандартраспространяется на шурупы класса точности В с потайной, полупотайной,полукруглой и шестигранной головками.
Стандарт полностью соответствуетСТ СЭВ 2331-89.
(Измененная редакция, Изм. №3).
1.1. Шурупы должны изготовлятьсяв соответствии с требованиями настоящего стандарта и требованиями размерныхстандартов.
1.2. Шурупыдолжны изготовляться:
из углеродистых сталей марок 08кп, 10 кп по ГОСТ 10702, ГОСТ1050 и ГОСТ5663;
из коррозионностойких сталей по ГОСТ5632;
из латуни по ГОСТ 12920 и ГОСТ15527.
По соглашению междуизготовителем и потребителем допускается изготовлять шурупы из другихматериалов с механическими свойствами не ниже, чем у вышеуказанных материалов.
1.2.1. Настоящий стандартустанавливает следующие условные обозначения материалов:
углеродистыестали ................................................... 0
коррозионностойкиестали ....................................... 2
латуни.......................................................................... 3
(Измененная редакция, Изм. №2).
1.3.1. Выбортолщины покрытий - по ГОСТ 9.303 .
(Измененная редакция, Изм. №3).
1.3.2.Технические требования к внешнему виду покрытий - по ГОСТ 9.301 .
1.4. Поледопуска на диаметр стержня шурупа - h14, на длину стержня шурупа- js17.
Допуск параллельности стенок прямогошлица относительно оси стержня 0,0875 глубины прямого шлица.
Не установленные настоящимстандартом допуски размеров, отклонений формы и расположения поверхностейшурупов - по ГОСТ 1759.1 для изделий класса точности В.
(Измененная редакция, Изм. №2).
1.4.1. (Исключен Изм. № 2).
1.5. Дефектыповерхности шурупов - по ГОСТ 1759.2. На поверхности шурупов также недопускаются:
риски, выводящие размеры шуруповза предельные отклонения;
наличие частично подрезанных,утолщенных и надорванных участков резьбы суммарной длиной, превышающей 10 %длины резьбы по винтовой линии;
ржавчина, не смываемаякеросином.
(Измененная редакция, Изм. №2).
1.6. На шурупах не допускаются:
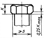
притупление ребер шестигранникак опорной поверхности более 0,25 высоты головки (черт. 10);
Черт. 10*
________________
* Черт. 1 - 9 исключены.
округление ребер шестигранника,выводящее диаметр описанной окружности за предельные отклонения;
скругление пояска головок шурупов,выводящее диаметры головок за предельное отклонение;
недопрессовка в виде срезавершины полукруглой и полупотайной головки, если диаметр площадки срезапревышает 40 % номинального диаметра головки. Недопрессовка не должна выводитьвысоту головки за предельное отклонение;
при изготовлении головки сошлицем методом холодной высадки уменьшение минимального диаметра головки внаправлении шлица, превышающее:
для шурупов с диаметром резьбыдо 2 мм включ. - 0,3 мм;
для шурупов с диаметром резьбыот 2,5 до 5 мм включ. - 0,6 мм;
для шурупов с диаметром резьбысв. 5 мм - 0,7 мм;
при прорезке шлица - увеличениеноминального диаметра головки по оси шлица, превышающее 0,1 мм;
утолщение диаметра стержня подголовкой шурупов более:
0,05 мм на длине до 5 мм - для шуруповдиаметром до 16 мм;
0,1 мм на длине до 8 мм - дляшурупов диаметром 20 мм;
гладкая конусовидная часть междуконцом сбега и безрезьбовой частью у стержня (черт. 11), редуцированного поднакатку резьбы, длиной более двух шагов резьбы;
недорез резьбы более двух шаговрезьбы (для шурупов с резьбой до головки);
(Измененная редакция, Изм. №2, 3).
Черт. 11
1.7. У шурупов с цилиндрической резьбовойчастью последние 2 - 3 витка резьбы должны иметь неполную глубину профилярезьбы.
У шурупов, имеющих менее четырехвитков резьбы, витки неполного профиля не должны превышать 30 % длины резьбовойчасти.
(Измененная редакция, Изм. №3).
1.6а. Резьбовая часть шуруповизготовляется цилиндрической или конической и должна иметь на конце заостреннуючасть (буравчик). Для шурупов с конической резьбовой частью наибольший наружныйдиаметр резьбы должен быть равен номинальному диаметру шурупа.
Буравчик шурупа должен иметь неменее 1,5 витков резьбы. Притупление острия буравчика для шурупов диаметром до5 мм включ. не должно превышать 20 % от диаметра стержня; для шурупов диаметромсвыше 5 мм - 40 % от диаметра стержня.
1.7а. Резьба должна быть острой.Допускается следующее притупление и вершин резьбы шурупов (черт. 12а).
и £ 0,15(d - d2), где d, d2 - номинальные значенияразмеров резьбы.
Черт. 12а*
________________
* Черт. 12 исключен.
1.6а, 1.7а. (Введеныдополнительно, Изм. № 3).
1.8. Условное обозначениешурупов должно выполняться в соответствии со схемой, приведенной в обязательном приложении.
2.1. Правилаприемки шурупов - по ГОСТ17769 для изделий степени точности В (нормальной).
3.1. Контрольдефектов поверхности шурупов - по ГОСТ 1759.2.
(Измененная редакция, Изм. №2).
3.2. (Исключен, Изм. № 2).
3.3. Контрольразмеров, отклонения формы и расположения поверхностей - по ГОСТ 1759.1.
Форма основания прямого шлица непроверяется.
(Измененная редакция, Изм. №2, 3).
3.4. Внешний види толщину покрытия проверяют по ГОСТ 9.302 . Выбор метода проверки толщины покрытия поусмотрению предприятия-изготовителя. Толщина покрытия должна проверятьсяна головке шурупа.
3.5 - 3.10. (Исключены, Изм.№2).
3.11. Размер внутреннегодиаметра нарезанной резьбы должен проверяться во впадинах витков полногопрофиля.
3.12. Для шурупов, изготовляемыххолодной высадкой, допуски параллельности и перпендикулярности поверхностей,размеры радиусов, биение в заданном направлении, высоту сферы и конусаполупотайных головок, размеры резьбы и шероховатость поверхностей допускаетсяне контролировать и должны обеспечиваться инструментом и технологиейизготовления.
(Измененная редакция, Изм. №3).
4.1. Временнаяпротивокоррозионная защита, упаковка шурупов и маркировка тары - по ГОСТ 18160 .
(Измененная редакция, Изм. №2).
| Шуруп |
| И- |
| d× |
| l |
| М |
| П |
| Т |
| ГОСТ |
| Наименование изделия |
| Исполнение |
| Диаметр изделия |
| Длина изделия |
| Условное обозначение материала |
| Условное обозначение покрытия |
| Толщина покрытия |
| Обозначение стандарта |
Примечания:
1.Углеродистые стали и отсутствие покрытия в обозначении не указываются.
2.При изготовлении шурупов из материала, не указанного в настоящем стандарте, вусловном обозначении необходимо указать марку материала.
3. Исполнение 1 допускается не указывать.
(Измененная редакция, Изм. № 2).
ИНФОРМАЦИОННЫЕДАННЫЕ
1. РАЗРАБОТАН И ВНЕСЕН Министерствомчерной металлургии СССР
РАЗРАБОТЧИКИ
И. Н.Недовизий, К. Г. Залялютдинов, В. Г. Вильде, И. В. Барышева, Р. В. Жирова
2. УТВЕРЖДЕН И ВВЕДЕН В ДЕЙСТВИЕПостановлением Государственного комитета СССР по стандартам от 30.06.80 № 3274
3. Стандарт полностьюсоответствует СТ СЭВ 2331-89
4. ВЗАМЕН ГОСТ 1147-70
5. ССЫЛОЧНЫЕНОРМАТИВНО-ТЕХНИЧЕСКИЕ ДОКУМЕНТЫ
| Обозначение НТД, на который дана ссылка | Номер пункта |
| ГОСТ 9.301-86 | |
| ГОСТ 9.302-88 | |
| ГОСТ 9.303-84 | |
| ГОСТ 1050-88 | |
| ГОСТ 1759.0-87 | |
| ГОСТ 1759.1-82 | |
| ГОСТ 1759.2-82 | |
| ГОСТ 5632-72 | |
| ГОСТ 5663-79 | |
| ГОСТ 10702-78 | |
| ГОСТ 12920-67 | |
| ГОСТ 15527-70 | |
| ГОСТ 17769-83 | |
| ГОСТ 18160-72 |
6. Ограничениесрока действия снято по протоколу № 7-95 Межгосударственного Совета постандартизации, метрологии и сертификации (ИУС 11-95)
7. ПЕРЕИЗДАНИЕ(октябрь 1997 г.) с Изменениями № 2, 3, утвержденными июле 1988 г., мае 1990 г.(ИУС 2-88, 8-90)
СОДЕРЖАНИЕ