Меню
Навигация
Novatika
Первая линия

Охрана природы. Атмосфера. Методы определения скорости и расхода газопылевых потоков, отходящих от стационарных источников загрязнения

Стандарт устанавливает методы определения скорости и объемного расхода газопылевых потоков, отходящих от стационарных источников загрязнения в газоходах и вентиляционных системах со скоростью не менее 4 м/с.

Обозначение: ГОСТ 17.2.4.06-90
Название рус.: Охрана природы. Атмосфера. Методы определения скорости и расхода газопылевых потоков, отходящих от стационарных источников загрязнения
Статус: действует
Дата актуализации текста: 05.05.2017
Дата добавления в базу: 01.09.2013
Дата введения в действие: 01.01.1991
Утвержден: 03.07.1990 Государственный комитет по охране природы (National Environmental Protection Committee 27)
Опубликован: Издательство стандартов (1991 г. ) ИПК Издательство стандартов (2000 г. )
Ссылки для скачивания:

ГОСТ 17.2.4.06-90

МЕЖГОСУДАРСТВЕННЫЙ СТАНДАРТ

ОХРАНА ПРИРОДЫ. АТМОСФЕРА

МЕТОДЫ ОПРЕДЕЛЕНИЯ СКОРОСТИ И РАСХОДА
ГАЗОПЫЛЕВЫХ ПОТОКОВ, ОТХОДЯЩИХ ОТ
СТАЦИОНАРНЫХ ИСТОЧНИКОВ ЗАГРЯЗНЕНИЯ

ИПК ИЗДАТЕЛЬСТВО СТАНДАРТОВ

Москва

МЕЖГОСУДАРСТВЕННЫЙ СТАНДАРТ

ОХРАНА ПРИРОДЫ. АТМОСФЕРА

Методы определения скорости и расхода газопылевых потоков, отходящих от стационарных источников загрязнения

Nature protection Atmosphere Methods for determination of velocity and flowrate of gas-and-dust streams from stationary sources of pollution

ГОСТ
17.2.4.06-90

Дата введения с 01.01.1991

Настоящий стандарт устанавливает методы определения скорости и объемного расхода газопылевых потоков (далее - газов), отходящих от стационарных источников загрязнения в газоходах и вентиляционных системах со скоростью не менее 4 м/с.

1. СРЕДСТВА ИЗМЕРЕНИЙ, РЕАКТИВЫ, ОБОРУДОВАНИЕ

Трубки напорные конструкции НИИОГАЗ (черт. 1).

Напорная трубка конструкции НИИОГАЗ

1, 2 - полости для измерения полного и статического давления; 3 - наконечник трубки

Черт. 1

Микроманометры типа ММН-2400(5)-1,0 класса точности 1,0.

Термометр стеклянный технический по ГОСТ 28498.

Барометр класса точности не ниже 1,0.

Штангенциркуль по ГОСТ 166.

Нутромер микрометрический по ГОСТ 10.

Рулетка металлическая по ГОСТ 7502.

Спирт этиловый по ГОСТ 5962, раствор плотностью 0,8095 г/см3.

Трубки медицинские резиновые типа 1 по ГОСТ 3399 или полиэтиленовые по ГОСТ 18599.

Напорные трубки должны иметь свидетельство о метрологической аттестации.

Допускается применять другие средства измерений с метрологическими характеристиками, обеспечивающими требуемую точность измерений.

2. ПОДГОТОВКА К ВЫПОЛНЕНИЮ ИЗМЕРЕНИЙ

2.1. Измерения проводят при установившемся движении потока газа.

Измерительное сечение следует выбирать на прямом участке газохода на достаточном расстоянии от мест, где изменяется направление потока газа (колена, отводы и т.д.) или площадь поперечного сечения газохода (задвижки, дросселирующие устройства и т.д.).

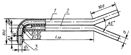
2.2. Отрезок прямого участка газохода до измерительного сечения должен быть длиннее отрезка за измерительным сечением (черт. 2); отношение длин отрезков газохода до измерительного сечения и за ним устанавливается согласно черт. 3.

L - длина прямого участка газохода, кратная De,; А-А - измерительное сечение; Lz - длина прямого участка газохода за измерительным сечением, кратная De

Черт. 2

2.3. Минимальная длина прямого участка газохода (L) должна составлять не менее 4-5 эквивалентных диаметров (De); если условие минимальной длины не может быть обеспечено, то следует увеличить количество точек измерений в два раза.

2.4. Собирают измерительную схему (черт. 4), при этом полости полного давления присоединяют к штуцеру микроманометра со знаком «+», а статического давления - к штуцеру со знаком «-».

Черт. 3

Схема установки приборов в газоходе

1 - термометр; 2, 4 - контрольная и рабочая напорные трубки, 3, 7 - микроманометры для измерений динамического давления в контрольной и рабочих точках; 5 - линейка; 6-стальной пруток

Черт. 4

Входные отверстия для измерений внутри газохода (фланцы, штуцера, термометрические гильзы и т.д.) в месте измерений должны быть выполнены таким образом, чтобы как можно меньше были нарушены поверхностные слои газохода (теплоизоляция, антикоррозийное покрытие и т.д.) и не было утечки газа или подсоса воздуха.

Определяют количество точек измерения п.

2.5. Площадь измерительного сечения условно делят на составные равновеликие площадки, в центрах которых находятся точки измерения.

2.5.1. Площадь поперечного сечения газохода круглого сечения условно делят на равновеликие кольца и четыре равновеликих сектора (черт. 5). Точки измерения находятся на двух взаимно перпендикулярных прямых, пересекающихся в центре измерительного сечения. Расстояние аi от внутренней стенки газохода до точки измерения п в процентах от диаметра вычисляют по формуле

аi,=ki×D×10-2,                                                            (1)

где i- порядковый номер точки измерения;

ki - коэффициент, определяемый по табл. 2.

Для n=12, nÆ=6
1 - линии измерения; 2 - точки измерения

Черт 5

2.5.2. Площадь поперечного сечения газохода прямоугольного или квадратного сечения условно делят на геометрические подобные равновеликие составные площадки (черт. 6). Точки измерения находятся в центрах тяжести равновеликих площадок, прямоугольные координаты которых по отношению к внутренней стенке газохода вычисляют по формулам:

,                                                             (2)

,                                                             (3)

где iA, iB - порядковый номер точки измерения на линии измерения;

nA, nB - количество точек измерения на одной линии измерения.

Для n =12, nA=3, nB=4
1 - линии измерения; 2 - точки измерения

Черт. 6

2.6. Количество точек измерения в измерительном сечении должно соответствовать указанному в табл. 1. При этом эквивалентный диаметр газохода круглого сечения равен его внутреннему диаметру (D), а для газохода прямоугольного сечения его вычисляют по формуле

,                                                             (4)

где А, В - внутренние размеры газохода прямоугольного сечения, м

Таблица 1

D или De, мм

 или

Количество точек измерения п в сечении

круглом

прямоугольном сечении при соотношения сторон A´В

от 1´1 до 1´1,6

св. 1´1,6 до 1´2,5

св. 1´2,5

п

пÆ

nA´nB=n

До 200

Св. 5,5

1

1

1´1 = 1

1´2 = 2

1´3 = 3

От 4 до 5,5 включ.

-

-

2´2 = 4

2´5 = 4

2´3 = 6

От 200 до 900 включ.

Св. 5,5

1

1

1´1 = 1

1´2 = 2

1´3 = 3

От 4 до 5,5 включ.

2

2

2´2 = 4

2´2 = 4

2´3 = 6

От. 2,5 до 4 включ.

-

-

2´4 = 8

2´4 = 8

2´5 =10

Св. 500 до 900 включ.

Св. 5,5

4

2

2´2 = 4

2´2 = 4

2´3 =6

От 4 до 5,5 включ,

8

4

2´4 = 8

2´4 = 8

2´5 =10

От 2,5 до 4 включ.

12

 

3´4 =12

3´5 =15

3´5 =15

Св. 900 до 1400 включ.

Св. 5,5

8

4

2´4 = 8

2´4 = 8

2´5 =10

От 4 до 5,5 включ.

12

6

3´4 =12

3´5 =15

3´5 =15

От 2,5 до 4 включ.

16

8

4´4 =16

3´6 =18

3´6 =18

До 2,5

20

10

4´6 =24

3´8 =24

3´8 =24

Св. 1400

Св. 5,5

12

6

3´4 =12

3´5 =15

3´5 =15

От 4 до 5,5 включ.

16

8

4´4 =16

3´6 =18

3´6 =18

до 2000 включ.

От 2,5 до 4 включ.

-

-

4´5 =20

4´5 =20

3´7 =21

До 2,5

-

-

4´7 =28

4´7 =28

3´10=30

Св. 2000

Св. 5,5

16

8

4´4 =16

3´6 =18

3´6 =18

От 4 до 5,5 включ.

20

10

4´5 =20

4´5 =20

3´7 =21

до 2700 включ.

От 2,5 до 4 включ.

24

12

4´6 =24

4´6 =24

3´8 =24

До 2,5

28

14

4´8 =32

4´8 =32

4´11=44

Св. 2700

Св. 5,5

20

10

4´5 =20

4´5 =20

3´ 7=21

От 4 до 5,5 включ.

24

12

4´6 =24

4´6 =24

3´ 8=24

до 3500 включ.

От 2,5 до 4 включ.

28

14

4´7 =28

4´7 =28

4´7 =28

До 2,5

32

16

4´10=40

4´10=40

4´10=40

Св. 3500

Св. 5,5

24

12

4´6 =24

4´6 =24

3´8 =24

От 4 до 5,5 включ.

28

14

4´7 =28

4´7 =28

4´7 =28

От 2,5 до 4 включ.

32

16

4´8 =32

4´8 =32

4´8 =32

До 2,5

36

18

4´11=44

4´11=44

4´11=44


Таблица 2

Количество точек измерения

Коэффициент Ki при расчете размера аiв зависимости от количества точек на линии измерения

п

пÆ

1

2

3

4

5

6

7

8

9

10

11

12

13

14

15

16

17

18

36

18

1,41

4,36

7,51

10,91

14,64

18,82

23,65

29,59

38,21

61,79

70,41

76,35

81,18

85,36

89,09

92,49

95,64

98,59

32

16

1,59

4,93

8,54

12,50

16,93

22,05

28,35

37,50

62,50

71,65

77,95

83,07

87,50

91,46

96,07

98,41

 

 

28

14

1,82

5,68

9,91

14,65

20,12

26,85

36,64

63,36

73,15

79,88

85,35

90,09

94,32

98,18

 

 

 

 

24

12

2,13

6,70

11,81

17,72

25,00

35,57

64,43

75,00

82,28

88,19

93,30

97,87

 

 

 

 

 

 

20

10

2,57

8,17

14,65

22,61

34,19

65,81

77,39

85,35

91,83

91,43

 

 

 

 

 

 

 

 

16

8

3,23

10,47

19,38

32,32

67,68

80,62

89,53

96,77

 

 

 

 

 

 

 

 

 

 

12

6

4,36

14,65

29,59

70,41

85,35

95,64

 

 

 

 

 

 

 

 

 

 

 

 

8

4

6,70

25,00

75,00

93,30

 

 

 

 

 

 

 

 

 

 

 

 

 

 

1

2

14,65

95,35

 

 

 

 

 

 

 

 

 

 

 

 

 

 

 

 


3. ВЫПОЛНЕНИЕ ИЗМЕРЕНИЙ

3.1. Скорость (v) в м/с и расход газов определяют методом измерения динамического давления газа (Рд)

Рдпст,                                                             (5)

где Рп - полное давление газа, Па;

Рст - статическое давление газа, Па;

и последующего расчета скорости газа по формуле

,                                                              (6)

где r - плотность газа при рабочих условиях, кг/м3.

3.2. Динамическое давление газа вычисляют по формуле

Рд=r×b×Кт,                                                               (7)

где р - отсчет по шкале микроманометра, Па;

b - коэффициент, зависящий от угла наклона измерительной трубки микроманометра;

Кт - коэффициент напорной трубки, определяемый при ее метрологической аттестации*.

*Для напорных трубок конструкции НИИОГАЗ Кт равен 0,55-0,3.

3.3. Определение объемного расхода газа

3.3.1. Объемный расход газа (V), определяемый посредством средней скорости газа (), вычисляют по формуле

,                                                                   (8)

где s - площадь измерительного сечения газохода, м2.

3.3.2. При выполнении измерений одну напорную трубку устанавливают в контрольной точке на расстоянии 30-100 мм от оси газохода. Рабочую напорную трубку перемещают по линии измерения, последовательно устанавливая в точках измерения с погрешностью, не превышающей ±2 мм, при этом наконечники напорных трубок должны быть направлены навстречу газовому потоку. Измерения давления обеими трубками производят одновременно. Результаты измерений фиксируются в журнале, форма которого приведена в приложении 1. В каждой точке необходимо выполнить не менее трех измерений динамического давления; по результатам измерений определяется среднее динамическое давление для данной точки измерения.

При проведении измерений необходимо следить за отсутствием отложений пыли на напорных трубках.

3.3.3. Одновременно измеряют температуру газа и разрежение (давление) в газоходе, а также атмосферное давление воздуха.

3.4. Определение площади измерительного сечения

3.4.1. Измеряют внутренние размеры газохода микрометрическим нутромером. При наличии внутри газохода поверхностных слоев в качестве расчетного сечения принимают действительно свободное сечение.

3.4.2. При невозможности непосредственного измерения внутренних размеров допускается определять размеры измерительного сечения измерением наружных размеров газохода и толщины его стенки. Измерения необходимо проводить измерительной рулеткой. Толщину стенки измеряют штангенциркулем.

3.4.3. Для газохода круглого сечения диаметр измеряют не менее четырех раз с приблизительно равными углами между измерительными диаметрами. Если разность результатов измерений более 1%, число измерений удваивают. Диаметр газохода определяют как среднее арифметическое всех измерений.

3.4.4. Для газохода прямоугольного сечения ширину и высоту измеряют на каждой измерительной горизонтали и вертикали. Если разность результатов более 1%, число измерений удваивают. Ширину и высоту газохода принимают равными среднему арифметическому значению измерений соответствующих величин.

4. ОБРАБОТКА РЕЗУЛЬТАТОВ ИЗМЕРЕНИЙ

4.1. Динамическое давление газа в i-й точке измерения () вычисляют по формуле (7).

4.2. Плотность газа при рабочих условиях вычисляют по формуле

,                                                          (9)

где rn - плотность газа при нормальных условиях, кг/м3;

t - температура газа в газоходе, °С;

Pa - атмосферное давление воздуха, кПа.

4.3. Плотность газа, состоящего из j компонентов, при нормальных условиях вычисляют по формуле

,                                                    (10)

где mj- значения молекулярной массы j-го компонента газовой смеси;

Wj - объемная доля j-го компонента газовой смеси, %;

22,4 - мольный объем при нормальных условиях, м3/к.моль.

Если известны плотности компонентов газовой смеси при нормальных условиях (), то плотность газовой смеси вычисляют по формуле

.                                                          (11)

Для приближенных расчетов плотность дымовых газов принимают равной плотности воздуха (r=1,29 кг/м3).

4.4. Среднюю скорость газового потока вычисляют по формуле

,                                                               (12)

где a - коэффициент поля скоростей в измерительном сечении;

Pдк - динамическое давление в контрольной точке измерительного сечения, Па.

4.4.1. Коэффициент поля скоростей (a) вычисляют по формуле

,                                                               (13)

4.5. Результаты измерений оформляют в соответствии с МИ 1317.

5. ОЦЕНКА ПОГРЕШНОСТИ ОПРЕДЕЛЕНИЯ СКОРОСТИ И РАСХОДА

5.1. В общем случае погрешность определения скорости и расхода газопылевых потоков, отходящих от стационарных источников загрязнения включает в себя:

погрешность измерения динамического давления газа, его температуры и атмосферного давления воздуха;

погрешность определения коэффициента напорных трубок;

погрешность от угла наклона оси рабочей напорной трубки (j) к оси потока;

погрешность от загрузки измерительного сечения напорными трубками;

погрешность от неточности установки рабочей напорной трубки в точках измерений;

погрешность осреднения скорости;

погрешность определения площади измерительного сечения.

5.2. Максимальная погрешность с доверительной вероятностью 95% не должна превышать удвоенного среднего квадратического отклонения

d=±2s,                                                                    (14)

где d - максимальная погрешность, т.е. максимальное отклонение от среднего значения в произвольном ряду независимых измерений, равных по точности;

s - среднее квадратическое отклонение,

5.3. Относительное среднее квадратическое отклонение скорости в 1-й точке измерений вычисляют по формуле

,            (15)

где  - относительные средние квадратические отклонения показаний микроманометра, барометра и термометра соответственно;

 - относительное среднее квадратическое отклонение коэффициента напорных трубок;

- относительное среднее квадратическое отклонение, определяемое погрешностью от наклона оси напорной трубки к оси потока;

 - относительное среднее квадратическое отклонение, определяемое с погрешностью от загрузки измерительного сечения напорными трубками.

5.4. Относительное среднее квадратическое отклонение средней в измерительном сечении скорости вычисляют по формуле

,                                           (16)

где  - относительное среднее квадратическое отклонение, определяемое погрешностью осреднения скорости;

 - относительное среднее квадратическое отклонение, определяемое погрешностью от неточности установки рабочей напорной трубки в точках измерения.

5.5. Относительное среднее квадратическое отклонение расхода газов вычисляют по формуле

,                                               (17)

где  - относительное среднее квадратическое отклонение определения площади.

5.6. Оценка составляющих погрешности определения скорости и расхода

5.6.11. Средние квадратические отклонения результатов измерения динамического давления (s), атмосферного давления () и температуры газов (st) в зависимости от показаний микроманометра, барометра и термометра в долях длины их шкалы приведены в табл. 3.

Таблица 3

Показания приборов, доли длины шкалы

, , st для приборов класса точности

1,0

0,5

1,00

±0,5

±0,25

0,75

±0,7

±0,35

0,50

±1,0

±0,50

0,25

±2,0

±1,00

0,10

±5,0

±2,50

0,05

±10,0

±5,00

5.6.2. Погрешность определения коэффициента напорной трубки () указывают в свидетельстве о метрологической аттестации.

5.6.3. Для уменьшения погрешности от угла наклона оси рабочей напорной трубки к оси потока необходимо повернуть и зафиксировать трубку таким образом, чтобы показания микроманометра были максимальны.

В общем случае, если j£5°, то .

5.6.4. Погрешность от загрузки измерительного сечения напорными трубками зависит от площади измерительного сечения и площади сечения наконечника напорной трубки (Sтр).

При  не более 1 % погрешностью от загрузки измерительного сечения пренебрегают. В остальных случаях исключают указанную погрешность введением в результат измерения поправки, вычисляемой по формуле

,                                                        (18)

где  - динамическое давление с учетом поправки, Па;

Sтр - площадь сечения наконечника напорной трубки, м2.

5.6.5. Погрешностью от неточности установки рабочей напорной трубки в точках измерений при выполнении требований п. 3.3.2 пренебрегают.

5.6.6. Погрешность осреднения скорости, обусловленная неравномерностью распределения поля скоростей в измерительном сечении, приведена в табл. 4.

Таблица 4

Форма измерительного сечения

п

Погрешность осреднения скорости, %, при расстоянии от места возмущения потока до измерительного сечения в эквивалентных диаметрах

1

2

3

5

6

Круг

4

20

16

12

6

3

8

16

12

10

5

2

12

12

8

6

3

2

Прямоугольник

4

24

20

15

8

4

16

Г2

8

6

3

2

5.6.7. Погрешность определения площади измерительного сечения

5.6.7.1. При непосредственном измерении внутреннего диаметра газохода относительное среднее квадратическое отклонение площади измерительного сечения вычисляют по формуле

,                                                           (19)

где  - среднее квадратическое отклонение эквивалентного диаметра газохода.

5.6.7.2. При измерении наружного периметра газохода и толщины стенки относительное среднее квадратическое отклонение площади измерительного сечения вычисляют по формуле

,                                             (20)

где b - толщина стенки, м;

sb - среднее квадратическое отклонение измерения толщины стенки

Пример расчета погрешности определения скорости и расхода газа приведен в приложении 2.

6. ТРЕБОВАНИЯ БЕЗОПАСНОСТИ

6.1. Эксплуатация электроприборов и электроустановок, используемых в процессе проведения измерений, должна производиться в соответствии с требованиями ГОСТ 12.1.019, правилами технической эксплуатации электроустановок потребителей и правилами техники безопасности при эксплуатации электроустановок потребителей, утвержденными Госэнергонадзором.

6.2. Расположение и организация рабочих мест при проведении работ должны выполняться в соответствие с ГОСТ 12.2032 и ГОСТ 12.2.033. Площадки для проведения работ должны быть ограждены перилами и бортовыми листами в соответствии со строительными нормами и правилами, утвержденными Госстроем СССР


ПРИЛОЖЕНИЕ 1

Рекомендуемое

ФОРМА ЗАПИСИ РЕЗУЛЬТАТОВ ОПРЕДЕЛЕНИЯ СКОРОСТИ ГАЗОВ

Предприятие_____________________ Температура газа в газоходе, °С_______________________

Дата измерения___________________ Разрежение (давление) в газоходе Па (мм вод. ст.)_______

Место измерений_________________ Атмосферное давление воздуха, Па (мм рт. cт.)__________

Плотность газа при рабочих условиях, кг/м3______________________________________________

Время измерения

Номер измерения

Показания шкалы микроманометра, мм

Коэффициент напорной трубки

Коэффициент наклонной трубки микроманометра

Динамическое давление, мм вод. ст. (Па)

Скорость газа, м/с

Контрольная точка измерения

i-е точки измерения

1

2

3


ПРИЛОЖЕНИЕ 2

Справочное

ПРИМЕР РАСЧЕТА ПОГРЕШНОСТИ ОПРЕДЕЛЕНИЯ СКОРОСТИ И РАСХОДА ГАЗА*

1. Погрешность измерения местной скорости

1.1. Относительное среднее квадратическое отклонение градуировки напорной трубки.

Погрешность градуировки напорной трубки, определенная в результате ее аттестации, составляет ±2%.

В соответствии с разд. 5 =0,01.

1.2. Относительные средние квадратические отклонения показаний микроманометра, термометра и барометра класса 1,0 в верхней части диапазона измерений

=0,005.

1.3. Относительное среднее квадратическое отклонение, определяемое погрешностью загрузки измерительного сечения напорными трубками =0,005 при ×100<1% или при введении в результат измерений поправки по формуле (18).

Тогда относительное среднее квадратическое отклонение определения скорости в i-й точке измерения

2. Погрешность определения средней по сечению газохода скорости

2.1. Среднее квадратическое отклонение осреднения скорости

=0,01

2.2. Относительное среднее квадратическое отклонение средней скорости

.

*В примере приведены типичные для предусмотренных в настоящей методике условий, и средств измерений значения погрешности при определении скорости и расхода газов. Однако их нельзя распространять на все случаи измерений. Предполагается, что коррекция систематических погрешностей не проводилась, а сочетание случайных и систематических погрешностей можно рассматривать как случайное.

3. Погрешность определения расхода

3.1. Среднее квадратическое отклонение площади измерительного сечения

=0,02.

Относительное среднее квадратическое отклонение определения расхода

.

Таким образом, для приведенных в примере условий при определении скорости газа в i-ой точке измерения, средней скорости и расхода газа среднее квадратическое отклонение и максимальная погрешность с доверительной вероятностью 95% составят соответственно:

0,020 и ±4,0%

0,022   ±4,4%!

0,030   ±6,0%

ИНФОРМАЦИОННЫЕ ДАННЫЕ

1. РАЗРАБОТАН И ВНЕСЕН Министерством тяжелого машиностроения СССР

РАЗРАБОТЧИКИ

Н. М. Васильченко, канд. техн. наук (руководитель темы); А. С. Кузин; Н. И. Могилко; Т. М. Липецкая

2. УТВЕРЖДЕН И ВВЕДЕН В ДЕЙСТВИЕ Постановлением Государственного комитета СССР по охране природы от 3.07.90 № 27

3. ВВЕДЕН ВПЕРВЫЕ

4. ССЫЛОЧНЫЕ НОРМАТИВНО-ТЕХНИЧЕСКИЕ ДОКУМЕНТЫ

Обозначение НТД, на который дана ссылка

Номер раздела, пункта

ГОСТ 10-88

1

ГОСТ 12.1.019-79

6.1

ГОСТ 12.2.032-78

6.2

ГОСТ 12.2.033-78

6.2

ГОСТ 12.2.062-81

6.2

ГОСТ 166-89

1

ГОСТ 3399-76

1

ГОСТ 5962-67

1

ГОСТ 7502-98

1

ГОСТ 18599-83

1

ГОСТ 28498-90

1

МИ 1317-86

4.5

5. ПЕРЕИЗДАНИЕ. Март 2000 г.

СОДЕРЖАНИЕ