Меню
Навигация
Первая линия
Бесплатное обучение по программе А

ГОСТ 12.2.013.6-91* «ССБТ. Машины ручные электрические. Конкретные требования безопасности и методы испытаний молотков и перфораторов»

Настоящий стандарт устанавливает требования безопасности и методы испытаний электрических ручных молотков и перфораторов (далее - молотки и перфораторы), которые дополняют, изменяют или заменяют разделы и пункты ГОСТ 12.2.013.0.

Обозначение: ГОСТ 12.2.013.6-91*
Название рус.: ССБТ. Машины ручные электрические. Конкретные требования безопасности и методы испытаний молотков и перфораторов
Статус: действующий Прекращено применение на территории РФ с 01.01.2009 г. Действует ГОСТ Р МЭК 60745-2-6-2007 (ИУС 4-2008)
Заменяет собой: ГОСТ 25988-83
Дата актуализации текста: 01.10.2008
Дата добавления в базу: 01.02.2009
Дата введения в действие: 01.01.1993
Дата окончания срока действия: 01.01.2009
Разработан: Московское научно-производственное обьединение по механизированному строительному инструменту и отделочным машинам
Утвержден: Госстандарт СССР (30.09.1991)
Опубликован: ИПК Издательство стандартов № 1999<br>Стандартинформ № 2006

МЕЖГОСУДАРСТВЕННЫЙСТАНДАРТ

Система стандартов безопасности труда

МАШИНЫ РУЧНЫЕ ЭЛЕКТРИЧЕСКИЕ

Конкретные требования безопасности и методы испытаний молотков и перфораторов

Occupational safety standards system. Electric hand-held tools. Specific safety requirements and methods of testing hammers and drills

ГОСТ

12.2.013.6-91

(МЭК)

745-2-6-89

Дата введения 01.01.93

Настоящий стандарт устанавливает требованиябезопасности и методы испытаний электрических ручных молотков и перфораторов(далее - молотки и перфораторы), которые дополняют, изменяют или заменяютразделы и пункты ГОСТ12.2.013.0.

В стандарте методы испытаний выделеныкурсивом, требования, учитывающие национальные особенности СССР, - вертикальнойлинией на полях.

Пункты и чертежи, дополняющие ГОСТ12.2.013.0, имеют нумерацию, начиная со 101.

Требования всех пунктов настоящегостандарта являются обязательными.

Содержание

1. ОБЛАСТЬ РАСПРОСТРАНЕНИЯ

2. ТЕРМИНЫ И ОПРЕДЕЛЕНИЯ

3. ОБЩИЕ ТРЕБОВАНИЯ

4. ИСПЫТАНИЯ. ОБЩИЕ ПОЛОЖЕНИЯ

5. НОМИНАЛЬНОЕ НАПРЯЖЕНИЕ

6. КЛАССИФИКАЦИЯ

7. МАРКИРОВКА

8. ЗАЩИТА ОТ ПОРАЖЕНИЯ ЭЛЕКТРИЧЕСКИМ ТОКОМ

9. ПУСК

10. ПОТРЕБЛЯЕМАЯ МОЩНОСТЬ И ТОК

11. НАГРЕВ

12. ТОК УТЕЧКИ

13. ПОДАВЛЕНИЕ РАДИО - И ТЕЛЕПОМЕХ

14. ВЛАГОСТОЙКОСТЬ

15. СОПРОТИВЛЕНИЕ ИЗОЛЯЦИИ И ЭЛЕКТРИЧЕСКАЯ ПРОЧНОСТЬ

17. НЕНОРМАЛЬНЫЙ РЕЖИМ РАБОТЫ

18. МЕХАНИЧЕСКАЯ БЕЗОПАСНОСТЬ

19. МЕХАНИЧЕСКАЯ ПРОЧНОСТЬ

20. КОНСТРУКЦИЯ

21. ВНУТРЕННЯЯ ПРОВОДКА

22. КОМПЛЕКТУЮЩИЕ ИЗДЕЛИЯ

23. ПОДКЛЮЧЕНИЕ К СЕТИ И ВНЕШНИЕ ГИБКИЕ КАБЕЛИ, ШНУРЫ

24. ЗАЖИМЫ ДЛЯ ВНЕШНИХ ПРОВОДОВ

25. ЗАЗЕМЛЕНИЕ

26. ВИНТЫ И СОЕДИНЕНИЯ

27. ПУТИ УТЕЧКИ, ВОЗДУШНЫЕ ЗАЗОРЫ И ТОЛЩИНА ИЗОЛЯЦИИ

28. ТЕПЛОСТОЙКОСТЬ, ОГНЕСТОЙКОСТЬ И СТОЙКОСТЬ К ОБРАЗОВАНИЮ ТОКОПРОВОДЯЩИХ МОСТИКОВ

29. КОРРОЗИОННАЯ СТОЙКОСТЬ

ПРИЛОЖЕНИЕ А ТЕРМОВЫКЛЮЧАТЕЛИ И УСТРОЙСТВА ЗАЩИТЫ ОТ ПЕРЕГРУЗОК

ПРИЛОЖЕНИЕ В ЭЛЕКТРОННЫЕ СХЕМЫ

ПРИЛОЖЕНИЕ С КОНСТРУКЦИЯ БЕЗОПАСНЫХ ИЗОЛИРУЮЩИХ ТРАНСФОРМАТОРОВ

ПРИЛОЖЕНИЕ D ИЗМЕРЕНИЕ ПУТЕЙ УТЕЧКИ И ВОЗДУШНЫХ ЗАЗОРОВ

ПРИЛОЖЕНИЕ 1 ПРАВИЛА БЕЗОПАСНОСТИ ПРИ ЭКСПЛУАТАЦИИ МАШИН В УСЛОВИЯХ ПРОИЗВОДСТВА

ПРИЛОЖЕНИЕ 2 ПРАВИЛА БЕЗОПАСНОСТИ ПРИ ЭКСПЛУАТАЦИИ МАШИН В БЫТОВЫХ УСЛОВИЯХ

ПРИЛОЖЕНИЕ 3 ПРИЕМКА

ИНФОРМАЦИОННЫЕ ДАННЫЕ

1. ОБЛАСТЬРАСПРОСТРАНЕНИЯ

По ГОСТ12.2.013.0 со следующим изменением.

1.1. Настоящий стандартраспространяется на молотки и перфораторы и устанавливает требованиябезопасности, а также методы испытаний.

2. ТЕРМИНЫ И ОПРЕДЕЛЕНИЯ

По ГОСТ12.2.013.0 со следующим изменением.

2.2.23.Замена. Нормальная нагрузка - нагрузка, создаваемая молотком илиперфоратором, установленным вертикально в испытательном приборе (черт. 101),когда он работает в повторно-кратковременном режиме, состоящем из периодаработы длительностью 30 с и паузы длительностью 90 с, в течение которой машинувыключают; к молотку или перфоратору прикладывают через упругий элемент осевоеусилие нажатия с минимальным значением, обеспечивающим устойчивое функционированиеударного механизма.

Примечания:

1. Нормальная нагрузка определяется при номинальномнапряжении или верхнем пределе диапазона номинальных напряжений.

2. Определение нормальной нагрузкидля перфораторов и молотков с вибрирующим якорем находится в стадии разработки.

2.2. Дополнение

2.2.101. Молоток - машина, предназначенная дляразрушения бетона, дорожных и других покрытий, трамбования и уплотненияматериалов.

В машину встроен ударный механизм,энергия которого не зависит от приложенного усилия оператора.

2.2.102. Перфоратор - машина, предназначенная длявыполнения отверстий в мраморе, бетоне, искусственных и естественных камнях идругих материалах. Он работает таким же образом, как и молоток, но можетприводить рабочий инструмент и во вращательное движение.

3. ОБЩИЕ ТРЕБОВАНИЯ

По ГОСТ12.2.013.0.

4. ИСПЫТАНИЯ. ОБЩИЕПОЛОЖЕНИЯ

По ГОСТ12.2.013.0.

5. НОМИНАЛЬНОЕНАПРЯЖЕНИЕ

По ГОСТ12.2.013.0.

6. КЛАССИФИКАЦИЯ

По ГОСТ12.2.013.0.

7. МАРКИРОВКА

По ГОСТ12.2.013.0.

8. ЗАЩИТА ОТ ПОРАЖЕНИЯЭЛЕКТРИЧЕСКИМ ТОКОМ

По ГОСТ12.2.013.0.

9. ПУСК

По ГОСТ12.2.013.0.

10. ПОТРЕБЛЯЕМАЯМОЩНОСТЬ И ТОК

По ГОСТ12.2.013.0.

11. НАГРЕВ

По ГОСТ12.2.013.0 со следующим изменением.

11.2. Дополнение. Еслидостижение номинальной потребляемой мощности не является возможным, когдамолоток или перфоратор работает при нормальной нагрузке, он нагружается спомощью тормоза таким образом, чтобы потребляемая мощность была равнаноминальной; ударный механизм можно отключить или снять.

Допустимое превышение температуры,указанное для наружной поверхности кожуха, не относится к наружной поверхностиударного механизма.

12. ТОК УТЕЧКИ

По ГОСТ12.2.013.0.

13. ПОДАВЛЕНИЕ РАДИО - ИТЕЛЕПОМЕХ

По ГОСТ12.2.013.0.

14. ВЛАГОСТОЙКОСТЬ

По ГОСТ12.2.013.0.

15. СОПРОТИВЛЕНИЕИЗОЛЯЦИИ И ЭЛЕКТРИЧЕСКАЯ ПРОЧНОСТЬ

По ГОСТ12.2.013.0.

16. НАДЕЖНОСТЬ

По ГОСТ12.2.013.0 со следующим изменением.

16.2. Двапервых абзаца. Замена. Молотки и перфораторы работают вповторно-кратковременном режиме в испытательном приборе (см. черт. 101) приноминальном напряжении или верхнем пределе диапазона номинальных напряжений инормальной нагрузке в течение четырех периодов по 6 ч каждый, при этомпромежуток между этими периодами должен быть не менее 30 мин.

17. НЕНОРМАЛЬНЫЙ РЕЖИМРАБОТЫ

По ГОСТ12.2.013.0.

18. МЕХАНИЧЕСКАЯБЕЗОПАСНОСТЬ

По ГОСТ12.2.013.0 со следующими дополнениями:

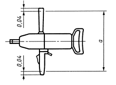
18.101.1. Конструкцияперфораторов должна препятствовать возникновению опасных реактивных моментов,вызываемых внезапным заклиниванием рабочего инструмента, что может привести ктравмам и стать причиной несчастного случая в результате опрокидывания иливырывания машины из рук оператора.

18.101.2.Определения и рекомендации

18.101.2.1. На практике усилия,прикладываемые оператором, превышают нормативные.

В исключительных случаях усилие в центрерукоятки может достигать 400 Н. Допустимый максимальный реактивный моментдолжен быть рассчитан с учетом этого усилия и длины рычага плеча для каждогоположения рукоятки.

18.101.3. Максимальные значенияреактивного момента

Реактивный момент Мрдолжен быть ограничен с одной стороны моментомзаклинивания, а с другой стороны моментом расцепления, максимальные значенияреактивного момента зависят от исполнения перфоратора, от характерногоположения рукоятки и от того, каким образом необходимо удерживать перфоратородной или двумя руками.

Реактивный момент у перфоратора с двумярукоятками гасится, главным образом, на уровне дополнительной рукоятки (рука нарукоятке с выключателем служит, главным образом, для управления перфоратором).

18.101.3.1 Перфораторы,удерживаемые одной рукой

Мрmax = 8 Н × м

Мрmax = 10 Н × м

Мрmax = (400 × а) Н × м

Мрmax = (400 × а) Н × м

Мрmax = (400 × а) Н × м

Размеры в метрах 82

18.101.3.2. Перфораторы, удерживаемые двумя руками

Мрmax = (400 × а2) Н × м

Мрmax = (400 × а2) Н × м

Мрmax = (400 × а) Н × м

Размеры в метрах

18.101.4. Испытание - Измерение статическогомомента заклинивания или момента скольжения при включении перфоратора сзастопоренным шпинделем.

Перфоратор питается от номинальногонапряжения и включается своим выключателем. Механический переключатель частотывращения устанавливается на минимальную частоту вращения. Электронный регуляторчастоты вращения устанавливается на максимальную частоту вращения. Измеренныймомент не должен превышать допустимого максимального значения.

18.101.1, 18.101.2, 18.101.2.1, 18.101.3,18.101.3.1, 18.101.3.2, 18.101.4 (Введены дополнительно, Изм. № 1).

19. МЕХАНИЧЕСКАЯПРОЧНОСТЬ

По ГОСТ12.2.013.0 со следующим изменением.

19.2. Изменение.Испытания по данному пункту не проводят для молотков и перфоратора массой св. 10кг.

Допускается по согласованию спотребителем испытания по данному пункту не проводить для молотков и перфораторов массойдо 10 кг.

20. КОНСТРУКЦИЯ

По ГОСТ12.2.013.0.

21. ВНУТРЕННЯЯ ПРОВОДКА

По ГОСТ12.2.013.0.

22. КОМПЛЕКТУЮЩИЕИЗДЕЛИЯ

По ГОСТ12.2.013.0.

23. ПОДКЛЮЧЕНИЕ К СЕТИ ИВНЕШНИЕ ГИБКИЕ КАБЕЛИ, ШНУРЫ

По ГОСТ12.2.013.0 со следующим изменением.

23.3. Первыйи второй абзацы. Изменение. Тип несъемного кабеля или шнура долженсоответствовать или быть выше качества обычного гибкого кабеля вполихлоропреновой оболочке. Допускается по согласованию с потребителемиспользование гибких кабелей или шнуров по ГОСТ12.2.013.0.

24. ЗАЖИМЫ ДЛЯ ВНЕШНИХПРОВОДОВ

По ГОСТ12.2.013.00 со следующим изменением.

24.1. Дополнение.Применение паяных соединений допустимо независимо от номинальной мощности, приотсутствии возможности разрушения соединений.

25. ЗАЗЕМЛЕНИЕ

По ГОСТ12.2.013.0.

26. ВИНТЫ И СОЕДИНЕНИЯ

По ГОСТ12.2.013.0.

27. ПУТИ УТЕЧКИ,ВОЗДУШНЫЕ ЗАЗОРЫ И ТОЛЩИНА ИЗОЛЯЦИИ

По ГОСТ12.2.013.0.

28. ТЕПЛОСТОЙКОСТЬ,ОГНЕСТОЙКОСТЬ И СТОЙКОСТЬ К ОБРАЗОВАНИЮ
ТОКОПРОВОДЯЩИХ МОСТИКОВ

По ГОСТ12.2.013.0.

29. КОРРОЗИОННАЯСТОЙКОСТЬ

По ГОСТ12.2.013.0.

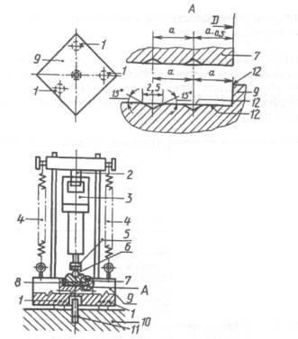
Допускается поставка машин,если это необходимо для правильной работы ударного механизма, с соответствующимпуансоном и пуансонодержателем, общая масса которых М3не более указанных в таблице.

Номинальная потребляемая мощность машины, Вт

Диаметр передающей плиты D, мм

Расстояние между центрами пазов а, мм

Масса стального фундамента М1,

Масса промежуточной плиты М2

Общая масса пуансона и пуансонодержателя М3

кг

До 700

100

6,5

90

1,0

0,7

Св. 700

до 1200

140

5,75

180

2,25

1,4

Св. 1200

до 1800

180

5,0

270

3,8

2,3

Св. 1800

до 2500

220

4,5

360

6,0

3,4

Устройстводля испытаний молотков и перфораторов

1 - диски из синтетической резины или материала с подобными свойствами твердостью по Шору А от 70 до 80, толщиной 10 мм и диаметром 75 мм;

2 - облицованная полиамидом скоба, пригнанная к рукоятке машины; 3 - машина; 4 - механический пружинный или пневматический механизм, создающий нажим на машину; 5 - пуансон; 6 - шар из закаленной стали диаметром 38 мм; 7 - промежуточная плита из закаленной стали массой M2 и диаметром D, снабженная с нижней стороны пазами в соответствии с чертежом; 8 - диск из синтетической резины или из материала с подобными свойствами твердостью по Шору А от 70 до 80, толщиной от 6 до 7 мм, плотно пригнанной к стенкам; 9 - стальной фундамент массой М1 с цилиндрической выемкой, у которой диаметр на 1 мм больше диаметра промежуточной плиты; дно выемки снабжено пазами в соответствии с чертежом; 10 - бетонный блок, установленный на устойчивой поверхности; 11 - стальной стержень, препятствующий горизонтальному смещению; 12 - шлифованные поверхности и кромки

Черт.101

ПРИЛОЖЕНИЕ А
ТЕРМОВЫКЛЮЧАТЕЛИ И УСТРОЙСТВА ЗАЩИТЫ ОТ ПЕРЕГРУЗОК

По ГОСТ12.2.013.0.

ПРИЛОЖЕНИЕВ
ЭЛЕКТРОННЫЕ СХЕМЫ

По ГОСТ12.2.013.0

ПРИЛОЖЕНИЕС
КОНСТРУКЦИЯ БЕЗОПАСНЫХ ИЗОЛИРУЮЩИХТРАНСФОРМАТОРОВ

По ГОСТ12.2.013.0.

ПРИЛОЖЕНИЕ D
ИЗМЕРЕНИЕ ПУТЕЙ УТЕЧКИ И ВОЗДУШНЫХ ЗАЗОРОВ

По ГОСТ12.2.013.0.

ПРИЛОЖЕНИЕ1
ПРАВИЛА БЕЗОПАСНОСТИ ПРИ ЭКСПЛУАТАЦИИМАШИН В УСЛОВИЯХ ПРОИЗВОДСТВА

По ГОСТ12.2.013.0.

ПРИЛОЖЕНИЕ2
ПРАВИЛА БЕЗОПАСНОСТИ ПРИ ЭКСПЛУАТАЦИИМАШИН В БЫТОВЫХ УСЛОВИЯХ

По ГОСТ12.2.013.0.

ПРИЛОЖЕНИЕ 3
ПРИЕМКА

По ГОСТ12.2.013.0.

ИНФОРМАЦИОННЫЕ ДАННЫЕ

1. РАЗРАБОТАН И ВНЕСЕН Московскимнаучно-производственным объединением по механизированному строительномуинструменту и отделочным машинам

2. УТВЕРЖДЕН И ВВЕДЕН В ДЕЙСТВИЕ ПостановлениемКомитета стандартизации и метрологии СССР от 30.09.91 № 1565. Настоящийстандарт разработан методом прямого применения международного стандарта МЭК745-2-6-89 «Безопасность ручных электрических машин. Часть 2. Конкретныетребования к молоткам и перфораторам» с дополнительными требованиями,отражающими потребности народного хозяйства СССР

Изменение №1 принято Межгосударственным советом по стандартизации, метрологии исертификации (протокол № 12 от 21.11.97)

За принятиеизменения проголосовали:

Наименование государства

Наименование национального органа по стандартизации

Азербайджанская Республика

Азгосстандарт

Республика Армения

Армгосстандарт

Республика Беларусь

Госстандарт Беларуси

Республика Казахстан

Госстандарт Республики Казахстан

Киргизская Республика

Киргизстандарт

Республика Молдова

Молдовастандарт

Российская Федерация

Госстандарт России

Республика Таджикистан

Таджикгосстандарт

Туркменистан

Главная государственная инспекция Туркменистана

Республика Узбекистан

Узгосстандарт

Украина

Госстандарт Украины

3. ВЗАМЕН ГОСТ 25988-83

4. ССЫЛОЧНЫЕ НОРМАТИВНО-ТЕХНИЧЕСКИЕ ДОКУМЕНТЫ

Обозначение НТД, на который дана ссылка

Номер раздела, приложения

ГОСТ 12.2.013.0-91

Вводная часть, разд. 1-29

Приложения А, В, С, D, 1, 2, 3

5. ИЗДАНИЕ сИзменением № 1, утвержденным в июне 1998г. (ИУС 10-98)