Меню
Навигация
Novatika
Первая линия

Горная графическая документация. Изображение элементов горных объектов

Стандарт устанавливает правила изображения элементов горных объектов на горных чертежах всех отраслей промышленности, ведущих разработку твердых полезных ископаемых. Стандарт не распространяется на геолого-маркшейдерскую документацию, а также планы земной поверхности горных предприятий, выполняемые по техническим требованиям ГУГК.

Обозначение: ГОСТ 2.852-75
Название рус.: Горная графическая документация. Изображение элементов горных объектов
Статус: действует
Дата актуализации текста: 05.05.2017
Дата добавления в базу: 01.09.2013
Дата введения в действие: 01.01.1980
Утвержден: 24.01.1979 Госстандарт СССР (USSR Gosstandart 185)
Опубликован: Издательство стандартов (1975 г. ) ИПК Издательство стандартов (2002 г. )
Ссылки для скачивания:

ГОСТ 2.852-75

МЕЖГОСУДАРСТВЕННЫЙ СТАНДАРТ

ГОРНАЯ ГРАФИЧЕСКАЯ ДОКУМЕНТАЦИЯ

ИЗОБРАЖЕНИЕ ЭЛЕМЕНТОВ ГОРНЫХ
ОБЪЕКТОВ

ИПК ИЗДАТЕЛЬСТВО СТАНДАРТОВ
Москва

МЕЖГОСУДАРСТВЕННЫЙ СТАНДАРТ

Горная графическая документация

ИЗОБРАЖЕНИЕ ЭЛЕМЕНТОВ ГОРНЫХ ОБЪЕКТОВ

Rock graphic documentation. Symbols for rock objects

ГОСТ

2.852-75

Дата введения 01.01.80

Настоящий стандарт устанавливает правила изображения элементов горных объектов на горных чертежах всех отраслей промышленности, ведущих разработку твердых полезных ископаемых.

Стандарт не распространяется на геолого-маркшейдерскую документацию, а также планы земной поверхности горных предприятий, выполняемые по техническим требованиям ГУГК.

1. МЕТОДЫ ИЗОБРАЖЕНИЯ

1.1. Изображения горных объектов на горных чертежах должны выполняться:

по методу параллельного проецирования в прямоугольных проекциях в соответствии с ГОСТ 2.305, в аксонометрических проекциях в соответствии с ГОСТ 2.317, в проекциях с числовыми отметками, в векторных проекциях и по методу аффинных преобразований;

по методу центрального проецирования (например, в линейной перспективе).

1.2. Элементы горных объектов на чертежах могут изображаться полностью (черт. 1а), упрощенно (черт. 1б) или условными обозначениями по ГОСТ 2.854 - ГОСТ 2.856.

Если на одном виде даны полное и упрощенное изображения, то упрощенное изображение следует выполнять сплошной тонкой линией (черт. 1а).

Если приводится только упрощенное изображение, то его следует выполнять сплошной основной линией.

2. ВИДЫ, РАЗРЕЗЫ, СЕЧЕНИЯ

2.1. Виды, разрезы и сечения на горных чертежах следует выполнять по правилам ГОСТ 2.305 и настоящего стандарта.

2.2. Изображение на плане для карьерных, шахтных (рудничных) полей, их отдельных участков, залежей полезных ископаемых и горных пород, а также совокупности горных выработок следует принимать на чертеже в качестве главного. Для наклонных и крутопадающих месторождений в качестве главного допускается принимать и другие изображения.

Следует применять следующие планы: земной поверхности, погоризонтные, пластовые, гипсометрические, сводные и совмещенные.

2.3. Разрезы и сечения могут быть горизонтальные (погоризонтные планы), вертикальные (вкрест простирания и по простиранию залежи) и наклонные. Наклонные разрезы и сечения могут быть спроецированы на наклонную (черт. 2), горизонтальную (черт. 3) и вертикальную (черт. 4) плоскости проекций.

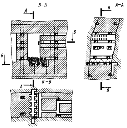
Разрезы и сечения могут быть сложными: ступенчатые (Б - Б на черт. 5) и ломаные.

2.4. Для наклонных и крутопадающих месторождений вертикальные разрезы и сечения (по простиранию и вкрест простирания залежи) могут применяться без горизонтального разреза или с горизонтальным разрезом, который в этом случае является вспомогательным (Б - Б на черт. 5).

2.5. В соответствии с ГОСТ 2.306 допускается не штриховать весь элемент горных пород.

Черт. 1

Черт. 2

Черт. 3

Черт. 4

Черт. 5

Черт. 6

В этом случае массив или насыпь следует обозначать только у контуров горной выработки и у земной поверхности (черт. 1 б).

На планах околоствольных дворов, капитальных горных выработок и других протяженных горно-строительных конструкций допускается штриховать массив горных пород только на отдельных участках контура (черт. 6).

На проектных чертежах допускается массив не штриховать.

3. ОБОЗНАЧЕНИЯ ЭЛЕМЕНТОВ ОТКРЫТЫХ ГОРНЫХ РАБОТ

3.1. Одним из элементов открытых горных работ является откос уступа. На плане поверхность откоса должна определяться линиями верхней и нижней бровки и линиями наибольшего ската. Так как нижняя бровка уступа обычно в натуре выражена нечетко, то ее следует изображать сплошной тонкой линией (черт. 7).

Черт. 7

Линии наибольшего ската в общем случае следует проводить перпендикулярно к горизонталям и выполнять сплошной тонкой линией.

Минимальное расстояние между соседними линиями ската должно быть в пределах 5 - 7 мм. Допускается увеличивать расстояние между парами линий наибольшего ската (черт. 8).

3.2. Массив вскрышных горных пород на плане откоса уступа следует условно обозначать отрезками сплошной основной линии длиной, равной 1/3 - 1/2 от горизонтального заложения откосов у контуров верхней бровки между линиями наибольшего ската (черт. 7, 8). Массив полезного ископаемого на откосе уступа следует обозначать сдвоенными отрезками сплошной основной линией (черт. 9). При переменной высоте уступа допускается не менять длину отрезков.

1 - горизонталь; 2 - линия наибольшего ската.

Черт. 8

Черт. 9

Черт. 10

3.3. Поверхность откоса насыпи (отвала, навала и др.) должна определяться линией верхнего контура (сплошная основная линия), линией нижнего контура (штрихпунктирная тонкая линия) (черт. 7) и линиями наибольшего ската. Обозначения вскрышных горных пород и полезного ископаемого на откосах насыпей аналогичны указанным в п. 3.2.

3.4. При изображении пересекающихся, примыкающих и налегающих элементов горных объектов (уступов, насыпей и др.), а также взаимопересекающихся поверхностей допускается упрощенное изображение линий пересечений, если нет необходимости детального выявления их формы (черт. 10).

3.5. При отсутствии необходимости в выделении конкретного типа горных пород или полезного ископаемого вскрышные породы в массиве могут штриховаться под углом 45° к линиям рамки чертежа с расстоянием между линиями 5 - 10 мм, а полезные ископаемые в массиве - штриховкой в другую сторону с расстоянием между линиями соответственно 2,5 - 5 мм (см. таблицу).

4. ИЗОБРАЖЕНИЕ ЭЛЕМЕНТОВ ПОДЗЕМНЫХ ГОРНЫХ ВЫРАБОТОК И СООРУЖЕНИЙ

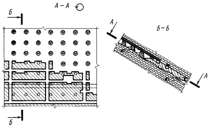
4.1. Контур сопряжения закрепленных горных выработок (горно-строительных конструкций и сооружений) следует выполнять сплошной основной линией. Упрощенный контур сопряжения следует выполнять сплошной тонкой линией (черт. 11).

Черт. 11

4.2. Контур незакрепленных горных выработок и выработанного пространства следует изображать упрощенно и выполнять сплошной основной линией.

4.3. Внутренние контуры закрепленных горных выработок следует выполнять сплошной основной линией, а контуры в проходке - сплошной тонкой линией.

4.4. На разрезах, расположенных поперек продольной оси горной выработки, на чертежах, выполненных в масштабе 1:500 и менее, контуры горной выработки следует наполовину (по диагонали) затушевывать (см. черт. 5).

4.5. На разрезах и сечениях вскрывающих, подготовительных и нарезных горных выработок, а также систем разработки, когда типы пород и (или) полезных ископаемых не выделяются, полезное ископаемое и вмещающие породы следует обозначать в соответствии с данными таблицы.

Материал крепи горных выработок в сечениях - по ГОСТ 2.306.

Общие обозначения горных пород в сечениях

Обозначение

Наименование

Обозначение

Наименование

Массив скальных пород (вскрышных, вмещающих)

Разрушенное полезное ископаемое

Полезное ископаемое

Разрушенные (обрушенные) горные породы

Мягкие и сыпучие горные породы

 

 

ИНФОРМАЦИОННЫЕ ДАННЫЕ

1. РАЗРАБОТАН Всесоюзным научно-исследовательским институтом по нормализации в машиностроении (ВНИИНМАШ)

Московским горным институтом (МГИ)

Всесоюзным научно-исследовательским институтом горной геомеханики и маркшейдерского дела (ВНИМИ)

ВНЕСЕН Всесоюзным научно-исследовательским институтом по нормализации в машиностроении (ВНИИНМАШ)

2. УТВЕРЖДЕН И ВВЕДЕН В ДЕЙСТВИЕ Постановлением Государственного комитета СССР по стандартам от 24.01.79 № 185

3. ССЫЛОЧНЫЕ НОРМАТИВНО-ТЕХНИЧЕСКИЕ ДОКУМЕНТЫ

Обозначение НТД, на который дана ссылка

Номер пункта

ГОСТ 2.305-68

1.1; 2.1

ГОСТ 2.306-68

2.5; 4.5

ГОСТ 2.317-69

1.1

ГОСТ 2.854-75 - ГОСТ 2.856-75

1.2

4. Ограничение срока действия снято Постановлением Госстандарта от 13.08.82 № 3206

5. ПЕРЕИЗДАНИЕ. Июнь 2002 г.

СОДЕРЖАНИЕ