Меню
Навигация
Novatika
Первая линия

Единая система конструкторской документации. Условные изображения и обозначения неразъемных соединений

Стандарт устанавливает условные изображения и обозначения соединений, получаемых клепкой, пайкой, склеиванием, сшиванием и металлическими скобками, на чертежах всех отраслей промышленности и строительства, кроме чертежей строительных металлических конструкций.

Обозначение: ГОСТ 2.313-82
Название рус.: Единая система конструкторской документации. Условные изображения и обозначения неразъемных соединений
Статус: действует
Заменяет собой: ГОСТ 2.313-68 «Единая система конструкторской документации. Условные изображения и обозначения швов неразъемных соединений»
Дата актуализации текста: 05.05.2017
Дата добавления в базу: 01.09.2013
Дата введения в действие: 01.01.1984
Утвержден: 30.12.1982 Госстандарт СССР (USSR Gosstandart 5294)
Опубликован: Издательство стандартов (1982 г. ) ИПК Издательство стандартов (2000 г. ) Стандартинформ (2007 г. )
Ссылки для скачивания:

ГОСТ 2.313-82

МЕЖГОСУДАРСТВЕННЫЙ СТАНДАРТ

ЕДИНАЯ СИСТЕМА КОНСТРУКТОРСКОЙ ДОКУМЕНТАЦИИ

УСЛОВНЫЕ ИЗОБРАЖЕНИЯ
И ОБОЗНАЧЕНИЯ
НЕРАЗЪЕМНЫХ СОЕДИНЕНИЙ

Москва
Стандартинформ
2007

МЕЖГОСУДАРСТВЕННЫЙ СТАНДАРТ

Единая система конструкторской документации

УСЛОВНЫЕ ИЗОБРАЖЕНИЯ И ОБОЗНАЧЕНИЯ НЕРАЗЪЕМНЫХ
СОЕДИНЕНИЙ

Unified system for design documentation.
Symbolic designations and representations of dead joints.

ГОСТ
2.313-82

Взамен
ГОСТ
2.313-68

Переиздание. Август 2007 г.

Постановлением Государственного комитета СССР по стандартам от 30 декабря 1982 г. № 5294 дата введения установлена

01.01.84

Настоящий стандарт устанавливает условные изображения и обозначения соединений, получаемых клепкой, пайкой, склеиванием, сшиванием и металлическими скобками, на чертежах всех отраслей промышленности и строительства, кроме чертежей строительных металлических конструкций.

Стандарт полностью соответствует СТ СЭВ 138-81.

1. СОЕДИНЕНИЯ КЛЕПАНЫЕ

1.1. Примеры условного изображения соединений, получаемых клепкой, приведены в табл. 1.

Таблица 1

Вид соединения

Изображение

Условное обозначение

в сечении

на виде

1.Заклепкой с полукруглой, плоской, скругленной головкой и с полукруглой, плоской, скругленной замыкающей головкой

2. Заклепкой с потайной головкой и с полукруглой, плоской, скругленной замыкающей головкой

3.Заклепкой с потайной головкой и с потайной замыкающей головкой

4. Заклепкой с полупотайной головкой и с потайной замыкающей головкой

5. Заклепками специальными

1.2. Если предмет, изображенный на сборочном чертеже, имеет ряд однотипных соединений с заклепками одного типа и с одинаковыми размерами, то заклепки, входящие в соединение, следует показать условно в одном-двух местах каждого соединения, а в остальных - центровыми или осевыми линиями (черт. 1).

1.3. Если на чертеже необходимо показать несколько групп заклепок различных типов и размеров, то рекомендуется отмечать одинаковые заклепки одним и тем же условным знаком (черт. 2а) или одинаковыми буквами (черт. 2б).

Черт. 1

Черт. 2

2. СОЕДИНЕНИЯ ПАЯНЫЕ И КЛЕЕНЫЕ

2.1. В соединениях, получаемых пайкой и склеиванием, место соединения элементов следует изображать сплошной линией толщиной 2s (черт. 3).

Черт. 3

2.2. Для обозначения паяного и клееного соединения следует применять условный знак, который наносят на линии-выноске сплошной основной линией:

- для пайки (черт. 4, 6, 8);

- для склеивания (черт. 5, 7, 9).

Черт. 4

Черт. 5

2.3. Швы, выполняемые по замкнутой линии, следует обозначать окружностью диаметром от 3 до 5 мм, выполняемой тонкой линией (черт. 6, 7, 9).

2.4. Швы, ограниченные определенным участком, следует обозначать, как показано на черт.8.

2.5. На изображении паяного соединения при необходимости следует указывать размеры шва и обозначение шероховатости поверхности.

Черт. 6

Черт. 7

Черт. 8

Черт. 9

2.6. Обозначение припоя или клея (клеящего вещества) по соответствующему стандарту или техническим условиям следует приводить в технических требованиях чертежа записью по типу: «ПОС 40 ГОСТ...» или «Клей БФ-2 ГОСТ...».

При необходимости в том же пункте технических требований следует приводить требования к качеству шва. Ссылку на номер пункта следует помещать на полке линии-выноски, проведенной от изображения шва.

2.7. При выполнении швов припоями или клеями различных марок всем швам, выполняемым одним и тем же материалом, следует присваивать один порядковый номер, который следует наносить на линии-выноске. При этом в технических требованиях материал следует указывать записью по типу:

«ПОС 4 ГОСТ... (№ 1), ПМЦ 36 ГОСТ... (№ 2), клей БФ-2 ГОСТ... (№ 3)».

3. СОЕДИНЕНИЯ, ПОЛУЧАЕМЫЕ СШИВАНИЕМ

3.1. Соединения, получаемые сшиванием, следует изображать на чертежах тонкой сплошной линией и обозначать условным знаком, выполненным сплошной основной линией и нанесенным на линии-выноске (черт. 10).

3.2. Обозначение материала (ниток и т. п.) по соответствующему стандарту или техническим условиям, а также, при необходимости, сведения, характеризующие шов, в том числе количество ниток и размер стежка, следует приводить в технических требованиях чертежа. Ссылку на номер пункта следует помешать на полке линии-выноски, проведенной от изображения шва (черт. 10).

3.3. Если соединение имеет несколько рядов швов, то на чертеже следует изображать только один шов, расположенный ближе к краю. Количество швов и расстояние между ними следует указывать под полкой линии-выноски (черт. 10).

Черт. 10

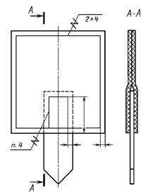
4. СОЕДИНЕНИЯ, ПОЛУЧАЕМЫЕ ПРИ ПОМОЩИ МЕТАЛЛИЧЕСКИХ СКОБОК

4.1. Соединение, получаемое при помощи металлических скобок, следует обозначать условным знаком, выполненным сплошной основной линией и нанесенным на линии-выноске:

 - для соединений, выполняемых внахлестку;

 - для угловых соединений.

Линия-выноска подводится к соединению со стороны расположения скобок.

4.2. При изображении ряда металлических скобок следует изображать только крайние скобки, соединяемые между собой сплошной тонкой линией.

4.3. Соединение, выполняемое по замкнутой линии, следует обозначать в соответствии с требованием п. 2.3.

4.4. Дополнительные сведения, характеризующие соединение, например, параметры скобки и расстояние между ними, при необходимости, следует приводить в технических требованиях чертежа.

4.5. Если соединение образуется несколькими рядами скобок, то на чертеже следует изобразить один ряд, расположенный ближе к краю, а на полке линии-выноски указать количество рядов и расстояние между ними.

4.6. Примеры изображения и обозначения соединений, выполненных при помощи металлических скобок, приведены в табл. 2.

Таблица 2

Соединение

Изображение

Условное изображение

1. С параллельным расположением скобок

2. С последовательным расположением скобок

3. С параллельным наклонным расположением скобок

4. Угловое с параллельным расположением скобок